
Description
F-tone Networks’s FTXP-H2-SR10xx CXP transceiver modules is a high performance, low power consumption, long reach interconnect solution supporting 100G Ethernet, Infiniband QDR,DDR,SDR,1G/2G/4G/8G/10G fiber channel and PCIe. It is compliant with the 120Gbits Small Form factor Hot-Pluggable CXP-interface. F-tone Networks’s CXP transceiver modules is an assembly of 12 full-duplex lanes, where each lane is capable of transmitting data at rates up to 10.5Gb/s, providing an aggregated rate of 120Gb/s.
Features
¡ñ 12-channel full-duplex transceiver module
¡ñ Hot Pluggable CXP footprint
¡ñ Maximum link length of 300m on OM3 or 400m on OM4 Multimode Fiber (MMF)
¡ñ Multirate capability: 1.06Gb/s to 10.5Gb/s per channel
¡ñ Unretimed CPPI electrical interface
¡ñ Requires 3.3V power supply only
¡ñ Low power dissipation: <4.5W
¡ñ Reliable VCSEL array technology
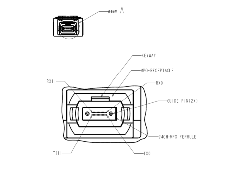
¡ñ Single MPO connector receptacle
¡ñ RoHS-6 Compliant (lead-free)
¡ñ Case operating temperature
Commercial: 0 ~ +70¡æ
Industrial: -40 ~ +85¡æ
Applications
¡ñ 100GBASE-SR10 100G Ethernet
¡ñ Multiple 1G/2G/4G/8G/10G Fibre Channel
¡ñ Infiniband transmission at 12ch SDR, DDR and QDR
¡ñ Switches, Routers
¡ñ Data Centers
¡ñ Other 120G Interconnect Requirement
Mechanical Dimensions

Ordering information
|
Part Number |
Product Description |
|
FTXP-H2-SR10 |
CXP Optical Transceivers, 12Channel X 10.5Gb/s, MPO24 OM3 300m 0~70¡æ |
|
FTXP-H2-SR10I |
CXP Optical Transceivers, 12Channel X 10.5Gb/s, MPO24 OM3 300m -40~85¡æ |
±¾²úƷΪ25G~400G¸ßËÙ¹âÄ£¿éϵÁУ¬ÈôÓÐÐèÒª£¬ÇëÁªÏµ大宝娱乐¡£
×¢£º±¾²úÆ·ÓÐÌìϲú»¯ÐͺſÉÑ¡
Important Notice
Performance figures, data and any illustrative material provided in this data sheet are typical and must be specifically confirmed in writing by F-tone Networks before they become applicable to any particular order or contract. In accordance with the F-tone Networks policy of continuous improvement specifications may change without notice.
The publication of information in this data sheet does not imply freedom from patent or other protective rights of F-tone Networks or others. Further details are available from any F-tone Networks sales representative.